10 Patents Removed From Public Record Without Reason
Some patents seem to have been erased without explanation, despite being granted or filed publicly. Their absence has fueled speculation about suppressed technology and classified projects.
- Tricia Quitales
- 3 min read
Throughout history, several patents have mysteriously vanished from public databases, leaving researchers and inventors puzzled. These removals often involve groundbreaking or controversial technologies, sparking speculation about hidden agendas. The disappearance of patent records raises questions about transparency in innovation and intellectual property.
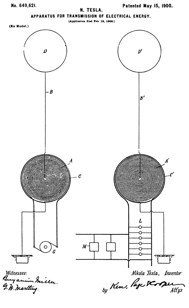
1. 1. Nikola Tesla’s Wireless Energy Patent

Nikola Tesla on wikimedia
Nikola Tesla filed numerous patents related to wireless energy transmission. Some records of these patents appear to have disappeared from public archives. Historians argue that these missing patents could have revolutionized energy distribution. The absence of documentation raises speculation about corporate or government intervention.
2. 2. Hedy Lamarr’s Frequency Hopping Patent

U.S. Navy graphic by Petty Officer 2nd Class Andrew Eder on wikimedia
Hedy Lamarr and George Antheil invented frequency hopping to secure radio communications. Certain filings related to this invention are no longer publicly accessible. The missing patents predate widespread military adoption of similar technology. Researchers wonder if classification or suppression played a role.
3. 3. The Cold Fusion Device

US gov on wikimedia
A patent for a cold fusion device filed in the 1980s vanished mysteriously. The technology promised nearly limitless clean energy. Scientists and engineers have debated whether it was erased due to skepticism or a potential threat to traditional energy industries. No clear explanation exists for its disappearance. Interest in cold fusion persists despite the lost documentation.
4. 4. Anti-Gravity Propulsion System

Senior Airman Eboni Reams on wikimedia
An early 20th-century patent describing an anti-gravity propulsion system was removed from public archives. Its design reportedly relied on principles unfamiliar to contemporary physics. The patent’s disappearance has fueled speculation about suppression for military purposes.
5. 5. Mind-Control Interface Patent

Unknown author or not provided on wikimedia
A patent filed in the 1970s for a mind-control interface vanished without explanation. The device aimed to translate neural signals into machine commands. Its removal sparked conspiracy theories about government or corporate secrecy. Documentation gaps make independent verification impossible. The concept has influenced modern neuroscience and brain-computer interface research.
6. 6. Advanced Material with Unknown Composition

Todd Trapani on pexels
A patent describing a material stronger than steel and lighter than aluminum disappeared from the public record. No official reason was given for its removal. Scientists speculate that it could have military applications. The absence of information has hindered replication or research. Curiosity about the material continues in engineering circles.
7. 7. Zero-Point Energy Converter

Unknown author on wikimedia
A patent for a zero-point energy converter filed in the 1990s is no longer publicly listed. The device allegedly generated energy from vacuum fluctuations. The technology could have massive implications for global energy production. Its disappearance raises questions about suppression or national security concerns. Enthusiasts continue to search for evidence of its design.
8. 8. Nanobot Medical Patent

NASA on wikimedia
A patent for nanobots capable of targeted drug delivery vanished from public databases. The invention could have revolutionized healthcare and surgery. The removal has led to speculation about pharmaceutical industry interference. Researchers are unable to access the full documentation. Nanotechnology development continues in academic and private labs.
9. 9. Weather Modification Device

Let Ideas Compete on wikimedia
A 1960s patent for a device that could influence weather patterns disappeared mysteriously. Its mechanism reportedly involved electromagnetic and atmospheric manipulation. The removal has led to theories of government secrecy or classified projects. Scientists remain interested in the potential applications of weather engineering. Public records contain no trace of the original patent.
10. 10. Perpetual Motion Machine

Daderot on wikimedia
A patent for a perpetual motion machine from the early 1900s is missing from official archives. The device claimed to generate continuous energy without input. Skepticism about feasibility may have motivated removal. Enthusiasts continue to search for historical references and secondary documentation. The idea remains a popular topic in alternative energy research.